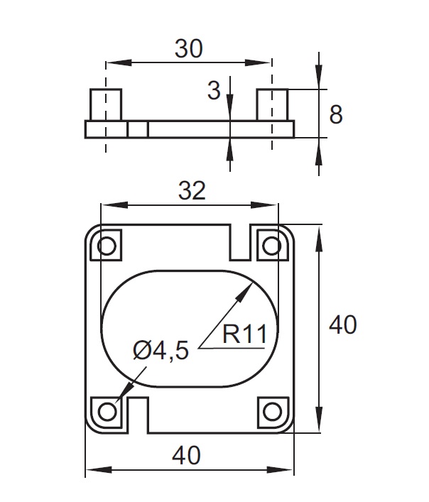
Tranparent Plastic Spacer F/Lock 850, 3mm Height

Item number: 14.01.091-0