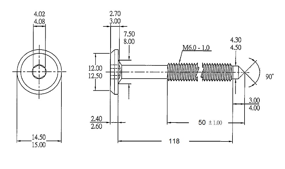
Fifteen Screw, M6x120mm (118+3), YZP, Pointed

Item number: 12.01.116-2