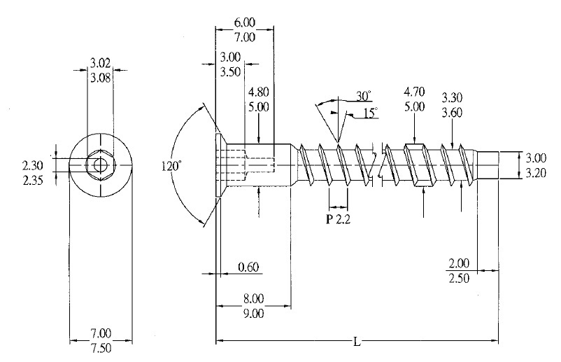
Assembla Screw, CSK, Hex, ø5,0 x 50mm, Steel BZP, W/Hole

Item number: 12.17.019-2