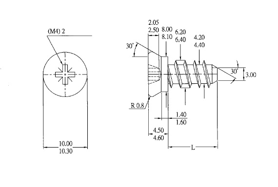
Special Screw F/Snapfix, Bore 5.0mm, 6.3x11.5mm, BZP

Item number: 11.04.618-1