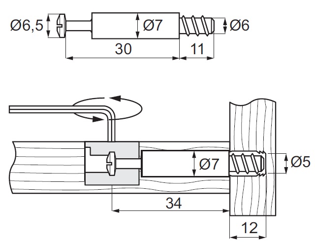
Dowel Pin F/Barrelfix, Bore 34mm, 5mm Wood, PZD, BZP

Item number: 11.03.333-0