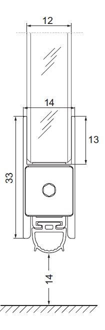
Drop Down Alu U-Profile, "B", F/12mm Glass, 830mm, W/Ad- hesive Tape, Balloon Silicon Seal (B)

Item number: 15.22.679-0